Az összekötő elemek a láncfüggesztékek rugalmas összeállítását teszik lehetővé. Erős és biztonságos szerkezetük megbízható használatot biztosít. Előnyök: – Láncok biztonságos összekapcsolása – Strapabíró és szabványos kialakítás
3 760 Ft – 33 300 FtÁrtartomány: 3 760 Ft - 33 300 Ft + ÁFA
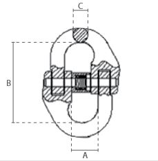
| Kód | EKL 06, EKL 08, EKL 10, EKL 13, EKL 16, EKL 20, EKL 22 |
|---|

| Láncméret (mm) | Code | A (mm) | B (mm) | C (mm) | Súly (kg) | Teherbírás (kg) |
|---|---|---|---|---|---|---|
| 6 | EKL 06 | 15,00 | 42,00 | 7,00 | 0,08 | 1.120 |
| 8 | EKL 08 | 18,00 | 60,50 | 8,50 | 0,16 | 2.000 |
| 10 | EKL 10 | 25,00 | 68,00 | 10,80 | 0,30 | 3.150 |
| 13 | EKL 13 | 29,00 | 87,00 | 15,00 | 0,70 | 5.300 |
| 16 | EKL 16 | 34,50 | 108,40 | 19,80 | 1,2 | 8.000 |
| 20 | EKL 20 | 38,00 | 121,50 | 24,00 | 1,8 | 12.500 |
| 22 | EKL 22 | 48,00 | 141,50 | 26,00 | 3,2 | 15.000 |
Írjon nekünk igényeivel kapcsolatban




A legjobb felhasználói élmény biztosítása érdekében olyan technológiákat használunk, mint például a sütik (cookie-k), hogy eszközinformációkat tároljunk és/vagy érjünk el. Ezen technológiákhoz való hozzájárulás lehetővé teszi számunkra olyan adatok feldolgozását ezen az oldalon, mint a böngészési szokások vagy az egyedi azonosítók. A hozzájárulás elmaradása vagy visszavonása hátrányosan befolyásolhat bizonyos funkciókat és jellemzőket.